When "Obvious" Isn't So Obvious: Revisiting Post-Grant Patent Amendment in China
In last year’s Inside China’s IP Market: A Guide 2025, we discussed the basics of how obvious error in patent claims can be addressed during invalidation proceedings in China. Fast forward a year, and the conversation is far from over. With a fresh set of recent cases in hand, we return to the same topic to take a closer look at how the standards for reviewing obvious error are being tested, and possibly redrawn in practice.
As many readers will know, China's approach differs from systems like those in the United States or Japan. Once a patent is granted in China, the only opportunity for a patentee to amend the claims is during invalidation proceedings, and even then, only within tightly defined rules. Amendments must be based strictly on the technical solutions or features already present in the claims; new content from the description cannot be added later. Of the few options available during invalidation, the amendment of obvious errors is a notable one.
But what makes an error "obvious"? As the term suggests, the error must be obvious, something that a person skilled in the art can readily identify. Typical examples include obvious ungrammatical phrasing, obvious incorrect use of technical terms, or obvious typographical mistakes. Of course, whether something is truly "obvious" needs to be assessed from the perspective of a skilled person in the relevant field, not the general public. After all, patent documents are technical, evaluating such errors requires a level of expertise consistent with that field.
In addition to being obvious, a correction must also be unique. This is another key condition set out in China’s Patent Examination Guidelines. In other words, once the mistake is identified, the correct version should be immediately apparent to a person skilled in the art. Why is this necessary? If more than one amendment seems possible, it risks letting the patentee to introduce new technical content under the guise of fixing an “obvious error.” That would create unnecessary uncertainty for the public and runs counter to the core principle that amendments at the invalidation stage should clarify, not expand, the original claims.
Let’s revisit a case we analysed in last year’s article, now renumbered as Case Study 1. The case went through invalidation proceedings as well as first- and second-instance administrative litigation. Interestingly, the CNIPA, the first-instance court, and the appellate court each reached a different conclusion on whether the issue constituted an“obvious error.” Given that the core question in this case was how to assess “obvious error”, and that the Supreme People’s Court ultimately issued a judgment with broader implications, we believe it is worth taking a second look at the heart of the decision.
Case Study 1: Method for Fixing the Stator Casing of an Electric Motor ((2023) Supreme People’s Court Administrative Final No. 246, judgment issued June 2024)
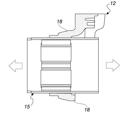
This case concerns a method for securing the stator casing of an electric motor to a bracket via interference fit, used in a motorised wheel. In the prior art, the stator casing (15) was fixed to the annular portion of the mounting bracket (12) using threaded components, a solution that added both parts and time to the assembly process.
To address these drawbacks, the patent in question proposes, as shown in Figure 1, inserting the stator casing (15) into a complementarily shaped annular portion (18), which extends integrally from the bracket (12). The stator casing is then fixed in place via interference fit (heated and then cooled), eliminating the need for screws or similar fasteners.

Figure 1: Drawing 5 from the Specification in Case Study 1
In the granted Claim 1, the structure is described as: “wherein said stator casing (15) is inserted in a corresponding complementarily shaped annular portion (18), which extends from said bracket (12) and is fixed to the bracket by interference.” During the invalidation proceedings, the patentee argued that the underlined portion contained an obvious error. The comparison between the original and amended versions of this feature is shown in the table below.
Before Amendment | After Amendment | |
Claim 1 | wherein said stator casing (15) is inserted in a corresponding complementarily shaped annular portion (18), which extends from said bracket (12) and is fixed to the bracket by interference | wherein said stator casing (15) is inserted in a corresponding complementarily shaped annular portion (18) that extends from said bracket (12) and is fixed to the bracket by interference |
The CNIPA took the view that the patentee’s amendment “could potentially alter the scope of claim protection” and was in fact an attempt to overcome a substantive defect; namely, that Claim 1 lacked support in the description. Such an amendment ran counter to the original purpose of the "obvious error" mechanism and risked opening the door to its misuse. As a result, the amendment was rejected, and the invalidation request was examined based on the granted version of the claims. Ultimately, the claims were found unsupported by the specification and were declared entirely invalid. The first-instance court upheld CNIPA’s decision.
The patentee appealed to the Supreme People’s Court, which overturned the lower court’s ruling. The appellate court sided with the patentee, holding that “a person skilled in the art, upon reading the claims, description, and drawings, would readily recognise the presence of an error or ambiguity in Claim 1, and could also identify the only reasonable correction based on the disclosed technical solution.”
Specifically, let’s return to the disputed feature in Claim 1. The annular portion (18) is described as extending from the bracket (12), suggesting that the two are structurally continuous. But the claim then goes on to say that the annular portion is “fixed to the bracket by interference,” this introduces ambiguity: how can a structure be both an extension and separately fixed to its source? From a textual standpoint, it is clear that the feature contains an error or at least a contradiction. Moreover, the specification supports only one logical interpretation. That makes the patentee’s correction a textbook case of an “obvious error” that should have been accepted.
The Supreme People’s Court held that whether an error qualifies as “obvious” must be made by interpreting the claims based on the entire disclosure, including the description and drawings, to recover the intended meaning of the claim. The Court rejected the approach taken by CNIPA and the lower court, which treated any potential change to the scope of protection as a disqualifier and relied solely on the literal wording of the claims. That, the Court said, was simply the wrong way to look at it.
In this case, the appellate court continued to apply the twin criteria of “obviousness” and “uniqueness” when assessing the alleged error. It also made clear that whether the amendment changes the scope of protection should not be the starting point for determining whether an error is “obvious,” nor should the analysis rely solely on the literal wording of the claims. Instead, the assessment should focus on the intended meaning of the claims in context. In this respect, the Supreme People’s Court offered clear guidance on how to evaluate “obvious errors,” providing a meaningful reference in future disputes.
Perhaps not coincidentally, this judgment appears to have influenced the CNIPA. Following the Supreme Court’s decision, the CNIPA seems to have adjusted its standard, still within the original legal framework, but with a greater emphasis on considering the claims and the description together to assess whether a correction truly qualifies as an “obvious error.” For example, in Case Study 2, decided after the appellate judgment in Case 1, the issue of an “obvious error” was once again raised and evaluated.
Case Study 2: An Eco-Friendly Paper Handle (Invalidation Decision No. 582497, issued November 2024)
Its Claim 1 relates to an eco-friendly paper handle, specifically reciting that “two adhesive sections (3) are provided, and the two adhesive sections (3) are respectively connected to both ends of the fastening section (2).” On a plain reading, this technical feature appears grammatically correct and internally coherent, with the claim language clearly identifying the location of the two adhesive sections. Moreover, corresponding passages in the description mirror the claim language, giving little immediate indication of any drafting error.
However, when the stated function and intended purpose of the adhesive sections (3) are considered, and taking into account the schematic in Figure 2 of the specification, it becomes apparent that the repeated reference to the “fastening section (2)” in both the claims and description is mistaken. A person skilled in the art would reasonably and uniquely understand this to be an error: the correct term should be “grip section (1),” which more accurately reflects the structural and functional arrangement of the invention.

Figure 2: Drawing 1 from the Specification in Case Study 2
Based on the above analysis, the panel held that the scope of protection should be interpreted in light of the corrected term. Remarkably, even though the patentee neither amended the claims nor appeared at the oral hearing, the panel still interpreted the claim based on what it deemed to be the correct limitation.
In its decision, the panel emphasised that the determination of whether a term in a claim amount to an “obvious error” should be made from the perspective of a skilled person, based on a full reading of the claims, description, and drawings. If that reader can readily identify a mistake and arrive at one clear and reasonable correction, the error qualifies as “obvious.” Moreover, the decision went further, stating that “where the error can be remedied by amendment, such amendment should be allowed; and where no opportunity to amend exists, the scope of the claim should be determined based on the sole correct interpretation of the error.” In short: claims should not be rejected as unclear or unsupported just because of an identifiable and correctable mistake in wording.
Compared to earlier practice, this approach seems to reflect a meaningful change. For instance, in Invalidation Decision No. 57392 (issued July 2022), the panel took a stricter line, holding that an "obvious error" must be one that a skilled person could spot from the claim text alone. If there was no clear contradiction or technical impossibility apparent in the wording, then no error would be recognised, let alone corrected. That decision further warned against allowing comparisons with the description to justify claim amendments, arguing that if such comparisons were allowed too freely, almost any lack of support could be retroactively justified by reference to the description, an outcome the panel deemed unreasonable.
A close comparison of the earlier and more recent invalidation decisions suggests that examiners may be taking a slightly different approach to obvious errors than they did in the past. Panels have begun moving away from a rigid focus on claim language alone and are instead interpreting claims through the lens of the invention’s purpose and technical context. This more flexible, substance-over-form approach may offer patentees a second chance to correct genuine drafting missteps, especially when the intended meaning is clearly supported by the specification. Overall, this trend leans in favour of patentees.
Still, it is worth remembering that the amendment for “obvious errors” is ultimately a remedy available only during invalidation proceedings, and often comes with additional time and cost. It is certainly not a first choice, and the smarter strategy is to avoid the detour altogether at the first sight. For utility models, where no substantive examination follows, that means extra care during drafting. For invention patents, a thorough internal review before filing and prompt amendments when errors surface can be an effective practice. Whatever type of patent you are filing for, when errors are spotted, act early. Because a clean draft, and quick fixes when needed, can avoid much heavier costs down the road.